2014허2269 권리범위확인(특)

by nara1 posted Jun 15, 2020
?

단축키

Prev이전 문서

Next다음 문서

ESC닫기

크게 작게 위로 아래로 댓글로 가기 인쇄
Extra Form
사건번호 2014허2269 권리범위확인(특)
판례제목 2014허2269 권리범위확인(특)
출원번호 제1114771호
분야 특허/실용신안
판결일 2014-12-23
법원명 특허법원
원고 유○○
피고 주식회사 한국주방기계
판사 정준영, 김신, 손천우
판결결과 권리범위확인
주문 1. 원고의 청구를 기각한다.
2. 소송비용은 원고가 부담한다.
청구취지 특허심판원이 2014. 2. 27. 2013당2775 사건에 관하여 한 심결을 취소한다.
기초사실 가. 원고의 특허발명
1) 명칭 : 석쇠
2) 출원일/ 등록일/ 등록번호 : 2009. 9. 23./ 2012. 2. 2./ 제1114771호
3) 특허청구범위
【청구항 29】서로 마주보는 두 변에 변 길이방향을 따라가면서 일정간격으로 형성되는 다수의 홀(25)을 갖고 있으며, 내측에는 홀(25)이 있는 변과 인접하여 나란하게 배치되는 스프링지지틀(26)을 갖는 사각형의 석쇠틀(12)(이하 ‘구성 1’이라 한다), 한 쪽의 헤드부(26)와 다른 한 쪽의 스프링(20)을 갖고 있으며 스프링지지틀(29)을 관통함과 동시에 두 변의 홀(25) 간에 끼워짐과 동시에 고정되면서 일정간격으로 나란하게 배치되는 여러 줄의 독립적인 가닥으로 된 선재(13)를 포함하며, 스프링의 장력을 이용하여 선재 탄성을 조절할 수 있도록 된 것(이하 ‘구성 2’라 한다)을 특징으로 하는 석쇠.
【청구항 30】청구항 29에 있어서, 상기 선재(13)의 선경은 0.1~2.0㎜ 인 것(이하 ‘구성 3’이라 한다)을 특징으로 하는 석쇠.
【청구항 1】내지【청구항 28】,【청구항 31】내지【청구항 34】(기재 생략)
【청구항 35】, 【청구항 36】(삭제)
4) 주요 도면 : [별지 1] 원고의 특허발명의 주요 도면과 같다(원고의 특허발명을 ‘이 사건 특허발명’이라 하고, 이 사건 특허발명의 청구항 제29항을 ‘이 사건 제29항 발명’이라 하며, 나머지 청구항도 같은 방식으로 부른다).

나. 확인대상발명
원고가 특정한 ‘석쇠’에 관한 것으로서, 그 설명서 및 도면은 [별지 2] 확인대상발명과 같다.

다. 이 사건 심결의 경위
1) 원고는 2013. 10. 17. 피고를 상대로 특허심판원 2013당2775호로 ‘확인대상발명은 이 사건 제30항 발명의 권리범위에 속한다’고 주장하면서 적극적 권리범위확인심판을 청구하였고, 2014. 2. 17. 확인대상발명을 보정하였다.
2) 특허심판원은 2014. 2. 27. ‘확인대상발명에 대한 보정은 적법하고, 그와 같이 보정된 확인대상발명은 이 사건 제30항 발명을 이용하는 이용관계에 있는 것으로 볼 수 있으나, 이 사건 제30항 발명이 석쇠의 선재를 종횡, 두 방향으로 교차시키는 확인대상발명을 그 권리범위에서 제외시키고 있으므로, 결국 확인대상발명은 이 사건 제30항 발명의 권리범위에 속하지 않는다’는 이유로 원고의 심판청구를 기각하는 이 사건 심결을 하였다.
[인정근거] 갑 제1, 2, 3호증, 변론 전체의 취지
원고의 주장요지 <원고 주장의 이 사건 심결의 취소사유>

가) 확인대상발명은 이 사건 제30항 발명에 새로운 기술적 요소를 부가한 것으로서 확인대상발명이 이 사건 제30항 발명의 구성과 구성 사이의 유기적 결합관계를 그대로 포함하고 있어 이 사건 제30항에 대하여 이용관계에 해당하므로, 확인대상발명에서 추가적으로 부가된 구성이 이 사건 제30항 발명의 권리범위로부터 의식적으로 제외되었는지 여부를 살펴볼 필요가 없이 확인대상발명은 이 사건 제30항 발명의 권리범위에 포함된다.
나) 확인대상발명과 같이 가로 선재와 세로 선재가 상하에서 서로 독립적으로 구성된 석쇠는 이 사건 특허발명의 명세서의 상세한 설명에 기재된 ‘교차’라고 볼 수 없으므로, 이 사건 제30항 발명의 권리범위에서 의식적으로 제외된 것으로 볼 수도 없다.
다) 따라서 확인대상발명은 이 사건 제30항 발명의 권리범위에 속한다.
당사자의 주장 요지 <피고 주장의 요지>

가) 이 사건 특허발명은 그 상세한 설명을 참작하면 ‘종횡 두 방향으로 교차되는 선재’를 가지는 석쇠에 대해서는 권리범위에서 제외하고 있음을 알 수 있으므로, 하나의 석쇠틀에서 가로․세로 방향의 선재가 교차하는 확인대상발명은 이 사건 제30항 발명의 권리범위에서 제외된 것이다.
나) 따라서 확인대상발명은 이 사건 제30항 발명의 권리범위에 속하지 않는다.

<이 사건의 쟁점>
당사자의 위와 같은 주장을 통해 정리되는 이 사건의 쟁점은 확인대상발명이 이 사건 제30항 발명의 권리범위에 속하는지 여부이다.
이사건 특허발명의 진보성이 부정되는지 여부 <확인대상발명이 이 사건 제30항 발명의 권리범위에 속하는지 여부>

가. 전체적인 구성의 대비
이 사건 제30항 발명과 확인대상발명을 대비하면, ① 사각형의 석쇠틀은 서로 마주보는 두 변(프레임)과 변(프레임)의 길이방향을 따라가면서 일정한 간격으로 형성되는 다수의 홀(끼움홈)을 갖고 있고, 내측에는 홀(끼움홈)이 있는 변(프레임)과 인접하여 나란하게 배치되는 스프링지지틀을 형성하고 있고(구성 1), ② 선재는 양쪽 끝에 헤드부와 스프링을 갖추며, 스프링지지틀을 관통하여 두변(프레임)의 홀(끼움홈)에 끼워지면서 석쇠틀에 고정되고(구성 2), ③ 선재의 선경이 0.1~2.0㎜로 동일하다(구성 3). 다만 확인대상발명은 우측 도면과 같이 서로 마주보는 2개의 프레임이 짝을 이루어 결합되고, 각 프레임에 끼움홈이 형성되어 선재가 교차하여 결합되는데, 이 사건 제30항 발명의 청구항에는 사각형의 석쇠틀에 홀(25)이 형성되는 위치를 ‘서로 마주보는 두 변’, 선재가 ‘두 변의 홀 간에 끼워진다’라고만 기재되어 있어 확인대상발명과 같이 가로․세로 방향으로 교차되는 것을 포함하는
지 여부가 불명확하다. 따라서 이 사건 제30항 발명과 확인대상발명에 차이점이 있는지 살피기 위해 아래에서 이 사건 제30항 발명의 청구항을 해석해보기로 한다.

나. 이 사건 제30항 발명의 청구항 해석
1) 판단근거
특허권의 권리범위는 특허출원서에 첨부한 명세서의 특허청구범위에 기재 된 사항에 의하여 정하여지고, 청구범위의 기재만으로 기술적 범위가 명백한 경우에는 원칙적으로 명세서의 다른 기재에 의하여 청구범위의 기재를 제한 해석할 수 없지만, 청구범위에 포함되는 것으로 문언적으로 해석되는 것 중 일부가 발명의 상세한 설명의 기재에 의하여 뒷받침되고 있지 않거나 출원인이 그 중 일부를 특허권의 권리범위에서 의식적으로 제외하고 있다고 보이는 경우 등과 같이 청구범위를 문언 그대로 해석하는 것이 명세서의 다른 기재에 비추어 보아 명백히 불합리할 때에는, 출원된 기술사상의 내용과 명세서의 다른 기재 및 출원인의 의사와 제3자에 대한 법적 안정성을 두루 참작하여 특허권의 권리범위를 제한 해석하는 것이 가능하다(대법원 2003. 7. 11. 선고 2001후2856 판결, 대법원 2008. 10. 23. 선고 2007후2186 판결 등 참조).
2) 구체적 판단
가) 이 사건 제30항 발명에 기재된 구성 1의 ‘사각형의 석쇠틀(12)’은 구성 2의 ‘선재(13)’가 끼워지는 ‘다수의 홀(25)’을 갖고 있고, 이러한 ‘다수의 홀(25)’은 서로 마주보는 두 변에 변 길이방향을 따라가면서 일정간격으로 형성되는데, 사각형의 석쇠틀에는 ‘서로 마주보는 두 변’이 가로와 세로로 두 개의 쌍이 존재하기 때문에 구성 1의 ‘다수의 홀(25)’이 형성되는 위치가 사각형의 석쇠틀(12) 중 가로변 또는 세로변 중 한 쌍에만 형성되는 것인지, 두 쌍 모두에 형성되는 것인지(즉 네 변에 모두 형성되는 것인지) 분명하지 않게 된다. 만약 ‘다수의 홀(25)’이 석쇠틀의 가로변 또는 세로변 중 한 쌍에만 형성되면 두 변의 홀(25) 사이에 끼워지는 선재가 한 방향으로만 형성되게 되나, ‘다수의 홀(25)’이 석쇠틀의 가로변과 세로변 모두에 형성되면 두변의 홀(25) 사이에 끼워지는 선재가 가로와 세로 방향으로 교차하여 형성되게 되므로, 구성 1의 ‘서로 마주보는 두 변’의 해석에 따라 이 사건 제30항 발명의 기술적 범위가 달라지게 된다.
나) 위와 같이 이 사건 제30항 발명은 청구범위의 기재만으로 기술적 범위가 명백하다고 볼 수 없으므로, 명세서의 상세한 설명과 도면을 살펴보면 아래와 같다.
⑴ 이 사건 특허발명 명세서의 상세한 설명에는 배경기술에 대해 ‘석쇠는 구이가 쉽게 눌러 붙고 탄화되어 비위생적일 뿐만 아니라, 용접 등 제작 편리상 석쇠로 사용되는 선재(線材)의 선경이 보통 2.0~10㎜ 범위로 매우 굵다’(갑 제3호증 6면 식별번호 [2]). ‘이러한 석쇠의 재질로는 구리, 동, 스테인리스 스틸, 철과 같은 금속재가 많이 사용되며, 형상은 종횡으로 교차시키거나, 꼬거나, 교차시킨 연장선의 끝단을 석쇠틀에 용접하거나 매어서 고정시켜 제작 유통되고 있다’(같은 면 식별번호 [3]). ‘그러나, 구이시 석쇠에 눌러붙어 탄화된 조각이 심각한 발암물질로 분류되면서 이를 피하기 위하여 기존에는 석쇠를 사용할 때, 구이시마다 번거롭게도 새로운 석쇠로 빈번하게 교체하여 조리를 하거나, 불가피하게 탄화된 구이를 섭취하게 되는 경우가 많았다’(같은 면 식별번호 [4]). ‘이러한 고민 때문에 일부 구이 업소에서 탄화된 석쇠를 세척시 인체에 유해한 염산을 사용하거나, 세척 전용 설비가 당연시하게 동원되고 있음은 잘 알려진 사실이다’(같은 면 식별번호 [8])라고 기재되어 있다.
⑵ 이 사건 특허발명의 명세서의 상세한 설명에는 위와 같은 배경기술의 문제점들을 해결하기 위한 과제해결수단에 대해 ‘본 발명은 아주 작은 석쇠를 교차시키지 않고 한 방향으로만 배열하는 것이 특징인데, 종래의 석쇠처럼 석쇠를 종횡, 두 방향으로 교차시키면 교차되는 부분에 구이의 조각 및 육즙이 자주 끼고 눌러 붙어서 탄화가 많게 된다’(갑 제3호증 8면 식별번호 [27]). ‘또한 종횡으로 교차되는 석쇠는 위에서 밝힌 것과 같이 석쇠의 중량에 의한 열용량이 커지고 열원에 노출되는 면을 작게 하여 구이가 느리게 익어 육즙이 마르고 타고 눌러 붙는 한 원인을 제공하게 된다’(같은 면 식별번호 [28]), ‘본 발명의 석쇠는 아주 가는 선재를 교차없이 제조하고, 종래처럼 선재 끝단을 석쇠틀에 용접하거나 매어서 고정시키지 않아도 되므로, 다양한 석쇠 소재를 사용할 수 있다’(같은 면 식별번호 [30])라고 기재되어 있고, ‘효과’에는 ‘본 발명의 석쇠는 선재의 직경이 아주 가늘고 교직(交織)을 하지 않으므로, 구이가 열원에 노출되는 면적이 매우 많아서 구이 맛을 최대한 살려주는 장점이 있다’(갑 제3호증 9면 식별번호 [62]), ‘제조원가를 절감할 수 있다. ① 가는 선경의 일방향 선재사용으로 재료비가 대폭 절약된다’(같은 면 식별번호 [63], [64]), ‘② 종래와 같이 선재를 용접, 종횡교차, 꼬임, 석쇠틀에 맴 등의 공정이 불필요하고, 직선을 지지봉이나 회전 지지틀에 감아 고정시키므로, 제조 공정이 간단하고 저렴하다’(같은 면 식별번호 [66])라고 기재되어 있다.
⑶ 이 사건 특허발명 명세서의 다양한 실시예들을 살펴보면, 1개의 사각형의 석쇠틀에 일 방향으로만 선재가 형성된 것으로 도시되어 있음을 알 수 있다(갑 제3호증 16면 도면 1a, 17면 도면 1b, 2a, 18면 도면 2b, 21면 도면 6a, 22면 도면 6b, 23~36면 도면 8a~20b).
다) 위와 같은 이 사건 특허발명 명세서의 상세한 설명과 도면을 참작해보면, 이 사건 특허발명의 출원인은 하나의 석쇠틀에서 가로·세로 두 방향으로 선재가 교차될 경우 발생하는 많은 문제점들을 해결하기 위해, 선경이 가는 선재를 한 방향으로만 나란히 형성하여 구이가 열원에 노출되는 면적을 넓혀 구이 맛을 살리고, 재료비를 절감하며, 제조가 간편한 작용효과를 가지는 석쇠를 구현하고자했던 것임을 알 수 있고, 그렇게 해석하는 것이 이 사건 특허발명의 기술사상의 내용과 명세서의 다른 기재 및 제3자의 법적 안정성의 측면에서도 바람직하다.
따라서 이 사건 제30항 발명은 하나의 석쇠틀에서 가로와 세로 중 한 방향으로만 선재를 형성하는 구성을 기술적 범위로 하고 있고, 하나의 석쇠틀에서 가로·세로 두 방향으로 선재가 교차되는 구성을 의식적으로 제외하고 있음을 알 수 있다.
3) 원고의 주장에 대한 판단
이에 대해 원고는 이 사건 특허발명의 명세서에 선재가 90° 교차된 접이식 석쇠가 개시되어 있어 이 사건 제30항 발명이 선재가 가로․세로 방향으로 교차되는 경우를 의식적으로 제외하였다고 볼 수 없다는 취지로 주장한다.
살피건대, 이 사건 특허발명 명세서의 상세한 설명에는 ‘도 3a 및 3b는 본 발명의 제3 실시예에 따른 석쇠를 나타내는 개략도이다. 도 3a 및 도 3b에 도시한 바와 같이, 여기서는 2개의 석쇠를 접었다 펼 수 있는 접이식 석쇠를 보여준다. 경첩에 의해 서로 연결되어 있는 한 쌍의 석쇠틀(12)이 마련되고, 각 석쇠틀(12)에는 한 가닥이 석쇠틀(12)의 두 변에 있는 지지봉(14)을 교대로 지그재그 방식으로 걸려지면서 한 쪽에서 다른 한 쪽으로 진행되어 일정간격으로 나란하게 배치되는 여러 줄의 형태나 또는 서로 마주보는 두 변 사이에 일방향을 유지하면서 일정간격으로 나란하게 배치되는 여러 줄의 독립적인 가닥으로 된 형태로 설치되는 선재(13)가 구비된다. 특히, 구이가 선태 틈새로 빠지는 것을 방지하기 위해서 합체하였을 때, 각 석쇠에 있는 선재(13)는 서로 90° 교차되는 방향으로 배치되는 형태를 가질 수 있다’(갑 제3호증 11면 식별번호 [91] 내지 [94]), ‘도 7a 및 7b는 본 발명의 제5실시예에 따른 석쇠를 나타내는 개략도이다. 도 7a 및 7b에 도시한 바와 같이, 여기서는 피더(15)와 와인더(16)가 갖추어져 있는 접이식 석쇠를 보여준다. 경첩에 의해 서로 연결되어 있는 한 쌍의 석쇠틀(12)이 마련되고, 각 석쇠틀(12)에는 피더(15)와 와인더(16)가 각각 구비되며, 피더(15)로부터 풀려나온 한 가닥의 선재(13)는 하나의 석쇠틀(12)에 있는 다수의 지지봉(14)을 교대로 지그재그 방식으로 걸려지면서 한 쪽에서 다른 한 쪽으로 진행되어 일정간격으로 나란하게 배치되는 여러 줄의 형태로 설치된 후, 다른 하나의 석쇠틀(12)로 넘어가서 같은 형
태로 설치된 다음, 그 곳에 있는 와인더(16)에 감기게 된다. 이때, 구이가 선재 틈새로 빠지는 것을 방지하기 위하여 합체하였을 때, 각 석쇠에 있는 선재(13)는 서로 90° 교차되는 방향으로 배치되는 형태를 가질 수 있다’(갑 제3호증 12면 식별번호 [115] 내지 [118])라고 기재되어 있고, 제3 실시예(도면 3a, 3b)(갑 제3호증 19면)와 제5 실
시예(도면 7a, 7b)(갑 제3호증 22, 23면)에 한 쌍의 석쇠틀이 접이식으로 겹쳐진 후 가로․세로 방향으로 선재가 90° 교차하도록 도시되어 있음을 알 수 있는 바, ① 선재가 한 방향으로 형성된 한 쌍의 석쇠틀이 90°로 겹쳐지게 되는 것일 뿐, 하나의 석쇠틀에서 선재가 90°로 교차되어 형성된 구성을 개시하지 않고 있고, ② 위와 같이 별개의 석쇠틀을 교차하여 형성하는 접이식 석쇠는 선재 사이에 석쇠틀이나 경첩 등의 두께 만큼 일정한 간격이 형성되어 있으므로 교차된 부분에 구이가 눌러 붙을 가능성이 적고, 석쇠틀을 분리하는 것이 용이하여 쉽게 세척하여 재활용할 수 있다는 점은 그 발명이 속하는 기술분야의 통상의 지식을 가진 사람에게 자명하여 앞서 살펴본 이 사건 특허발명의 종래기술의 문제점을 극복할 수 있으며, ③ 이 사건 특허발명은 다양한 실시형태를 소개하고 있으나, 한 쌍의 석쇠틀을 90° 겹쳐지게 하는 것만 개시하고 있어 하나의 석쇠틀에서 선재를 교차시키지 않겠다는 다른 명세서의 기재와 조화를 이루므로 위와 같은 접이식 석쇠는 하나의 석쇠틀에 선재를 가로․세로 방향으로 교차하여 형성하는 구성과는 분명하게 구분되고 작용효과에도 차이가 있다. 따라서 위와 같은 접이식 석쇠가 개시되었다고 하여 이 사건 제30항 발명의 권리범위에 하나의 석쇠틀에 선재가 가로․세로방향으로 교차되는 경우가 포함된다고 볼 수 없으므로 원고의 위 주장은 이유 없다.
원고는 또한 이 사건 특허발명의 명세서에서 종래 기술의 단점을 지적하면서 부정적인 의미로 기재한 ‘교차’란 우측 도면과 같이 가로 선재와 세로 선재가 교호하게 교차되는 것만을 의미하는 것이지 상하에서 서로 독립적으로 구성된 석쇠를 의미하는 것이 아니라는 취지로 주장하나, 을 제1, 3, 4호증의 각 기재에 변론 전체의 취지를 더하여보면, ‘교차’란 서로 엇갈리거나 마주친다는 의미로35) 널리 사용되는 단어로, 이 사건 특허발명의 출원일 이전에 이미 가로 선재와 세로 선재가 교호하지 않게 교차된 석쇠들이 개시되어 있음을 알 수 있고, 이 사건 특허발명의 명세서에는 ‘교차’ 또는 ‘종횡교차’를 ‘교직’, ‘꼬임’과 구분해서 사용하고 있는바(갑 제3호증 9면 식별번호 [62], [66] 참조), 이 사건 특허발명 명세서의 ‘교차’라는 의미를 원고의 주장과 같이 ‘교호하게 교차하는 것으로’ 한정하여 해석할 수는 없는 것 이므로, 원고의 위 주장도 이유 없다.

다. 구체적인 대비
1) 위에서 살펴본 내용을 종합하면, 이 사건 제30항 발명은 하나의 석쇠틀에서 가로․세로 방향으로 교차된 선재를 갖춘 석쇠를 의식적으로 제외하는 것으로 볼 수 있으므로, 이 사건 제30항 발명은 하나의 석쇠틀에서 선재가 가로 또는 세로 방향 중 한 방향으로만 형성되는데 반해, 확인대상발명은 하나의 석쇠틀에서 선재가 가로 방향과 세로 방향으로 교차하여 형성된다는 점에서 차이가 있다.
위 차이점을 토대로 이 사건 제30항 발명과 확인대상발명의 관계에 대하여 살피건대, 확인대상발명은 이 사건 제30항 발명의 사각형의 석쇠틀에서 서로 마주보는 두 변에만 끼움홈을 형성한 후 선재를 가로 또는 세로 방향 중 한 방향으로만 끼워 고정시킨 구성에 더하여 나머지 두 변에도 끼움홈을 형성하고, 선재를 교차하는 방향으로 끼워 고정시키는 구성을 추가한 것으로, 이 사건 제30항 발명의 요지를 전부 포함하고 이를 그대로 이용하는 이용관계에 해당함을 알 수 있다.
2) 특허법 제98조는 “특허권자․전용실시권자 또는 통상실시권자는 특허발명이 그 특허발명의 특허출원일 전에 출원된 타인의 특허발명․등록실용신안 또는 등록디자인이나 이와 유사한 디자인을 이용하거나 특허권이 그 특허발명의 특허출원일 전에 출원된 타인의 디자인권 또는 상표권과 저촉되는 경우에는 그 특허권자․실용신안권자․디자인권자 또는 상표권자의 허락을 얻지 아니하고는 자기의 특허발명을 업으로서 실시할 수 없다”라고 규정함으로써, 이용발명의 실시는 특허발명의 권리범위에 속한다고 볼 수 있으나, 실시자가 특허발명에서 의식적으로 제외한 구성을 부가하거나, 실시자가 부가한 구성으로 인해 특허권자가 특허발명의 권리범위에서 의식적으로 제외한 발명(또는 실시형태)이 된 경우에는 특허발명의 출원인의 의사와 제3자의 법적안정성 등을 감안해볼 때 이용관계에 해당하더라도 특허권자의 허락을 받을 필요는 없다고 봄이 상당하므로, 특허발명의 권리범위에 속한다고 볼 수 없다.
확인대상발명은 이 사건 제30항 발명과 이용관계에 해당하나, 이 사건 제30항 발명에서 의식적으로 제외하고 있는 기술적 구성을 부가하거나 부가된 구성으로 인해 이 사건 제30항 발명의 권리범위에서 의식적으로 제외된 발명(또는 실시형태)이 되었으므로, 결국 이 사건 제30항 발명의 권리범위에 속한다고 볼 수 없다.
결론 그렇다면, 확인대상발명은 이 사건 제30항 발명의 권리범위에 속하지 아니하는바, 이 사건 심결은 이와 결론을 같이하여 적법하고, 그 취소를 구하는 원고의 청구는 이유 없으므로 이를 기각하기로 하여 주문과 같이 판결한다.

[전체적인 구성 대비표]

전체적인 구성대비표.jpg

전체적인 구성대비표 2.jpg

 

 

[별지 2] 확인대상발명 도 1

[별지 2] 확인대상발명 도 1.jpg

 

 

[별지 1] 이 사건 특허발명 도면 17

[별지 1] 이 사건 특허발명 도면 17.jpg

 

[갑 제3호증 도면 3a]

갑 제3호증 도면 3a.jpg

 

 

[참고도(원고의 2014. 11. 21.자 준비서면 3면)]

참고도(원고의 2014. 11. 21.자 준비서면 3면).jpg

 

 

[을 제1호증 제1, 2도]

을 제1호증 제1, 2도.jpg

 

 

[별지 1]

별지 1.jpg

 

 

[별지 2]


확인대상발명 (2014. 2. 17. 보정된 것)
1. 확인대상발명의 명칭 :
석쇠
2. 확인대상발명 도면의 간단한 설명
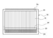
도 1은 확인대상발명의 석쇠의 구조를 설명하기 위해 나타낸 일부 분해 사시도.
도 2는 도 1에 도시된 확인대상발명에서 선재가 석쇠틀에 끼움 결합되는 부분을 확대한 확대 사시도.
3. 확인대상발명의 내용
확인대상발명은 고기나 생선 등의 구이에 사용되는 석쇠에 관한 것으로, 크게 석쇠틀(120)과 선재(130)로 구성된다.
도 1 및 도 2에 도시된 바와 같이, 상기 석쇠틀(120)은 서로 마주보는 2개의프레임이 짝을 이루어 사각틀 형상을 이루도록 서로 결합된다.
각 프레임에는 프레임의 길이 방향을 따라가면서 일정 간격으로 형성되어 선재의 양 끝단이 끼워지는 끼움홈(250)이 다수 개가 형성된다.
각 프레임의 내측 끝부분으로 각 끼움홈(250)이 형성된 부위에는 선재(130)의 끝단에 마련된 스프링(200)이 걸리는 스프링지지틀(290)이 형성되어 있다.
그리고 각 프레임에는 끼움홈(250)이 형성된 면을 덮으면서 해당 프레임에 결합되는 복수의 덮개부(100)가 구비되어 있다. 이러한 덮개부(100)는 끼움홈(250) 내에 끼워진 선재(130)들의 끝단이 끼움홈(250)의 개구된 상측 방향을 향해 이탈되는 것을 방지하기 위해 프레임에 일체로 결합된다. 덮개부(100)가 프레임에 결합되어 끼움홈(250)의 개방된 상부 공간을 덮게 되면 끼움홈(250)은 선재를 중심으로 그 사방 전체가 막히게 되면서 선재 방향으로 구멍이 뚫리는 형태의 홀(hole)을 이루게 된다.
선재(130)는 직경이 0.1~2.0mm의 직경을 갖는 것으로 양쪽에 헤드부(260)와 스프링(200)을 갖고 있으며 스프링지지틀(290)을 관통함과 동시에 서로 마주보는 2개의 프레임에 형성된 각 끼움홈(250)에 끼워지면서 석쇠틀에 고정된다.

그리고 선재(130)는 일정 간격으로 나란하게 배치되는 여러 줄의 독립적인 가닥으로 다수 개로 이루어진다.
선재(130)는 스프링지지틀(290)에 걸리는 스프링(200)을 통해 탄성이 조절된다.
이와 같은 구성을 포함하는 확인대상발명은 석쇠의 선재에 잘 눌러 붙거나 타지 않도록 직경이 아주 가는 선재를 사용하되 구이의 중량에 의해 선재가 처지는 것을 방지하기 위해 선재의 탄성을 조절할 수 있음과 아울러 선재의 끝단을 석쇠틀에 용접하지 않고 고정시킬 수 있는 석쇠를 제공할 수 있다.
4. 부호의 설명
100: 덮개부 120: 석쇠틀 130: 선재 200: 스프링
250: 끼움홈 260: 헤드부 290: 스프링지지틀
5. 도면

별지 2.jpg